logo-sg02
Parts list for Picanol Rapier Loom - 
GTM, GTM-A, AS, GTX, Gamma. A-3

Ref.

PARTS  NO.

DESCRIPTION

REMARKS

Ref.

PARTS  NO.

DESCRIPTION

REMARKS

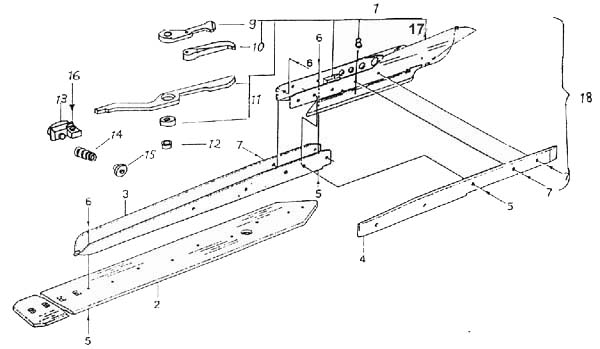
1
2
3
4
5
6
7
8
9
10

A03001
A03002
A03003
A03004
A03005
A03006
A03007
A03008
A03009
A03010

Gripper
Rapier tape
Connect piece
Guide
Screw
Nut
Screw
Wearing plate
Plate
Clamp

A91242
B87590
B87584
B87592
2x7
2
2x5
B87594
B87593
B87591

11
12
13
14
 
15
16
17
18

A03011
A03012
A03013
A03014
A03014-1
A03015
A03016
A03017
A03018

Thread clip
Bushing
Pusher
Spring
Spring
Holder
Screw
Gripper
Gripper assembly

BE81662
B87598
B87595
B87597

B87596
2X5
BE81628
BE53165

ALL PARTS DETAILS

A. GRIPPER: 
A-1(LHS Gripper)   A-2(RHS Gripper)   A-3(LHS Gripper)   A-4(RHS Gripper)
B. LENO:  
B-1(Leno)   B-2(GTM Leno)   B-3(Leno)   B-4(Leno)   B-5(Leno)
C. BOBBIN HOLDER:   
C-1(Bobbin holder)   C-2(Guider)   C-3(Guider)
D. SELVEDGE AND HARNESS ROD:  
D-1(Selvedge Motion)   D-2(Selvedge Motion)
                                                            
D-3(Dobhy Lever)   D-4(Harness Guide)
E. CUTTER:  
E-1(Weft Cutter)   E-2(Weft Cutter)   E-3(Waste Cutter)
F. GRIPPER GUIDE:   
F-1(Ropier Guide)   F-2(Sley Beam)
G. HOUSING:   
G-1(Housing, Take-up)   G-2(Housing, Take-up)   G-3(Housing, Leno)
                          
G-4(Housing, Gripper)   G-5(Housing, Sley)
H. SAND ROLLER:   
H-1(Sand Roller)
I. WEFT SELECTOR:   
I-1(Weft Selector)   I-2(Weft Selector)
J. SUCTION DEVICE:  
J-1(Suction Device)
K. CLUTCH:  
K-1(Main Clutch)   K-2(Pulley)
L. OTHERS:  
L-1(Others)