logo-sg02
Parts list for Picanol Rapier Loom - 
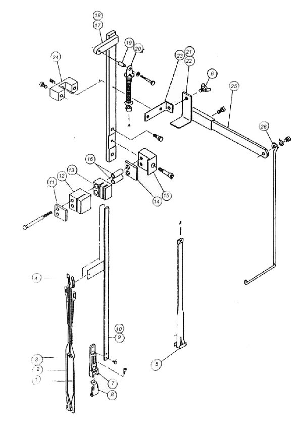
GTM, GTM-A, AS, GTX, Gamma. B-1

Ref.

PARTS  NO.

DESCRIPTION

REMARKS

Ref.

PARTS  NO.

DESCRIPTION

REMARKS

1
2
3
4
5
6
7
8
9
10
11
12
13

B01001
B01002
B01003
B01004
B01005
B01006
B01007
B07008
B01009
B01010
B01011
B01012
B01013

Heddle-Rear
Heddle-Front
Dupe Heddle
 
Ribbon
Thumbscrew
Support
Hook
Rail(R)
Rail(L)
Plate
Guide
Guide 





B87422
B90939
B87569
B87570
BE81755
BE81753
B87574
B87201
B87203

14
15
16
17
18
19
20
21
22
23
24
25
26

B01014
B01015
B01016
B01017
B01018
B01019
B01020
B01021
B01022
B01023
B01024
B01025
B01026

Guide piece
Guide
Bushing
Support(R)
Support(L)
Bushing
Spring
Support(R)
Support(L)
Augle iron
Support
Support
Rod 

B87202
B88421
B87425
BE81541
B30219
B52367
BE81544
BE81545

B87230
B87229
B87227
B87231

ALL PARTS DETAILS

A. GRIPPER: 
A-1(LHS Gripper)   A-2(RHS Gripper)   A-3(LHS Gripper)   A-4(RHS Gripper)
B. LENO:  
B-1(Leno)   B-2(GTM Leno)   B-3(Leno)   B-4(Leno)   B-5(Leno)
C. BOBBIN HOLDER:   
C-1(Bobbin holder)   C-2(Guider)   C-3(Guider)
D. SELVEDGE AND HARNESS ROD:  
D-1(Selvedge Motion)   D-2(Selvedge Motion)
                                                            
D-3(Dobhy Lever)   D-4(Harness Guide)
E. CUTTER:  
E-1(Weft Cutter)   E-2(Weft Cutter)   E-3(Waste Cutter)
F. GRIPPER GUIDE:   
F-1(Ropier Guide)   F-2(Sley Beam)
G. HOUSING:   
G-1(Housing, Take-up)   G-2(Housing, Take-up)   G-3(Housing, Leno)
                          
G-4(Housing, Gripper)   G-5(Housing, Sley)
H. SAND ROLLER:   
H-1(Sand Roller)
I. WEFT SELECTOR:   
I-1(Weft Selector)   I-2(Weft Selector)
J. SUCTION DEVICE:  
J-1(Suction Device)
K. CLUTCH:  
K-1(Main Clutch)   K-2(Pulley)
L. OTHERS:  
L-1(Others)